400-992-6602
我们能帮您找到什么?

一文读懂四探针测试电阻率的原理

半导体、材料及光伏等领域,准确测量材料的电阻率是评价其电学性能、监控工艺质量的关键。四探针测试法因其高精度、稳定性好及操作简便,已成为行业标准方法。下文,Xfilm埃利将从应用价值、工作原理、结构优势及操作要点四个维度,系统解析四探针测试技术。


一、四探针测试的应用价值

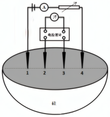
四探针法测量半导体器件电阻率示意图 

四探针法测量半导体器件电阻率示意图

在功率半导体、集成电路及光电材料等领域,材料电阻率是评价其电学性能的关键参数之一。四探针测试法主要用于测量体材料电阻率或薄膜的方块电阻,广泛应用于生产工艺的质量监控,如:

硅片衬底与外延层:对外延生长过程中的电阻率进行实时监控;

离子注入与扩散工艺:评估注入均匀性、扩散层深度及退火效果;

工艺设备校准:监测扩散炉温度分布、金属或介质膜沉积厚度等。

该方法因设备结构简单、操作容易、测试重复性好,特别适用于在线检测中的筛查,为工艺优化与质量控制提供可靠依据。


二、四探针测试的基本原理

四探针测试系统由四根金属探针构成,探针一般以等间距 S(常见为1 mm)排列在一条直线上。测试时,四根探针同时与样品表面保持良好接触如下图:

 

image.png 

电流通路:外侧两根探针(1、4)通入恒定电流 I

电压检测:内侧两根探针(2、3)测量其间产生的电位差 V

 

在均匀、各向同性的材料中,若样品尺寸远大于探针间距,可视为半无限大介质,根据电流场理论,电阻率 ρ 可通过下式计算:

image.png 

其中 S 为相邻探针间距该公式基于点电流源在半无限大均匀介质中产生的电位分布模型推导而来,是四探针法的核心关系式


三、为何用四探针结构?

若仅使用两根探针同时通电流与测电压,探针与样品间的接触电阻会串联入测量回路,引入显著误差。接触电阻大小受压力、表面状态、氧化层等因素影响,往往不稳定且难以校准。

四探针法通过增加2、3探针使用电位差计补偿法测量电压,从根本上消除接触电阻对电压测量的影响,显著提升电阻率测量的准确性与重复性


四、测试注意事项

1. 样品尺寸与探针间距的匹配

理论公式基于样品尺寸远大于探针间距的假设。若样品尺寸较小或厚度较薄,电场分布会受到边界影响,必须对公式进行修正。通常要求探针间距远小于样品直径(或宽度),并采用极尖的探针以减少压入效应。对于薄层样品,需根据其厚度与探针间距的比例选择相应的修正系数

 

2. 测试电流的合理选择

电流 I的取值需兼顾测量灵敏度与避免样品发热

电流过大:可能导致焦耳热,使样品温度升高,电阻率发生变化;

电流过小:则输出电压信号微弱,易受噪声干扰,降低测量精度

建议在测试前先测绘 V−I 曲线,选择在线性良好、电压响应稳定的区间进行测量,该区间对应的电阻率不随电流变化。

 

3. 环境与机械稳定性

测试平台应具备良好的防震或减震设计,避免外界振动引起探针与样品间接触电阻的波动。同时,应确保探针压力均匀、重复,保持接触状态一致,必要时在屏蔽环境下进行测量以减少电磁干扰。


四探针测试法凭借其理论严谨、实施简便、结果可靠等特点,已成为半导体材料与工艺检测中的重要工具。正确理解其物理基础、掌握测量中的关键影响因素,不仅有助于获得准确的电阻率数据,也能为材料研究与工艺改进提供有效支持。


Xfilm埃利四探针方阻仪

Xfilm埃利四探针方阻仪用于测量薄层电阻(方阻)或电阻率,可以对样品进行快速、自动的扫描,获得样品不同位置的方阻/电阻率分布信息。

image.png 

联系电话:400 992 6602

 

超高测量范围,测量1mΩ~100MΩ

高精密测量,动态重复性可达0.2%

全自动多点扫描,多种预设方案亦可自定义调节

快速材料表征,可自动执行校正因子计算

 

基于四探针法Xfilm埃利四探针方阻仪,凭借智能化与高精度的电阻测量优势,可助力评估电阻,推动多领域的材料检测技术升级。


相关产品

×

名字 *

公司

职称

电子邮件 *

电话号码 *

城市 *

国家

请选择产品

我有兴趣接受有关以下内容的信息 *

我的留言

提交